Environmental Monitoring: Detection of Atmospheric Particulate Matter PM2.5
Sensors, Devices and Components
Ref.-No.: 1629-5711-WT

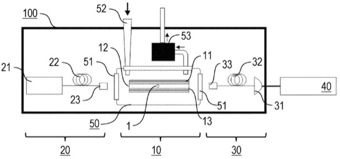
Fig.1 Fundamental measurement method
Advantages
- Simultaneous counting and size measuring of particles
- No degradation of the waveguide
- High predictability of particle trajectories
- Reproducible results
- High measurement window duration due to particle trapping
- Robust against external perturbations
- Provision of additional information from travelling time
- Low requirements for alignment accuracy
Applications
- Monitoring of public air pollution (PM2.5)
- In-house screening of particles
- Aerosol concentration monitoring in medical application
- Investigation of particulate matter contamination in exhaust gases in industrial processes
- Quality assurance in cleanrooms
Background
Different methods of scattering-based particle detectors have been developed in the past. Free-space detectors intersecting an unguided laser beam with a particle jet can lack accuracy due to the inhomogeneous laser beam profile and due to an imprecise jet alignment. State of the art systems based on light fibers, on the other hand, suffer from reduced lifetime due to fiber degradation by the impinging particles. These detectors also struggle to provide reproducible results and are highly sensitive to slight variations of outer parameters.
Technology
A new detection system (cf. Fig.1) has been designed to overcome the aforementioned shortcomings. Its main housing (100) contains a laser source (21) whose light is coupled into a single mode optical fiber (22) and fed onto a lens (23). Through a transparent window (51) the light is injected into an internal detection casing (50) in which a hollow core optical fiber (11) is axially mounted. The investigated particles enter the casing through a supply section (52) and exit them through an exhaust section (53). By the optical force of the laser single particles (1) can be trapped at the input end of the fiber (12) and get aligned and propelled along its core, partially scattering the impinging light. Hence the counting of the particles can be achieved in a non-degradable manner giving an unlimited device lifetime, meanwhile the particle size can be accurately determined from the amount of scattered light. The hollow-core optical fiber is designed and the wavelength of the laser is chosen such that the trapping and the guidance of the particles inside the core is efficient. Transmitted light leaves the inner casing through another transparent window, is gathered by a lens (33) and coupled into another single mode fiber (32), which transmits it to a photodiode. The signal is recorded by an analyzing device (40).

Fig. 1: Illustration of the detection arrangement including (20) radiation device, (10) waveguide device and (30) measuring device.
Patent Information
PCT (WO2020182742A1), EPO (EP3708998A1), CNIPA (CN113711008A)
PDF Download
- Ref.-No.: 1629-5711-WT (220.4 KiB)
Publications
A. Sharma, et al., "On-the-fly particle metrology in hollow-core photonic crystal fibre," Opt. Express 27, 34496-34504 (2019).
Contact

Senior Patent- & License Manager
PD Dr. Wolfgang Tröger
Physicist
Phone: +49 89 / 29 09 19-27
Email:
troeger@max-planck-innovation.de