Laser device with kerr effect based mode-locking and operation thereof
Sensors, Devices and Components
Ref.-Nr.: 1202-4422-WT
Technology
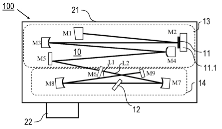
At the moment, thin disk oscillators are the most promising way of achieving high powers and high energy pulses simultaneously from a compact table top system. But until now no thin disk laser generating emission-bandwidth-limited pulses or even beyond the emission-bandwidth-limit at high power level has been realized yet.
The objective of the invention is to provide an improved laser device being capable of avoiding disadvantages of conventional techniques. In particular, the laser device is to be capable of creating laser pulses with increased pulse energies and/or decreased pulse durations, in particular with a compact design having a large operation stability. Furthermore, the objective of the invention is to provide an improved method of creating laser pulses being capable of avoiding disadvantages of conventional techniques. In particular, the laser pulses are to be created with increased pulse energy and/or decreased pulse duration, in particular with large stability on a timescale of hours or more.

Advantages
- Small sensitivity to thermal lens of the gain disk medium and dispersive optics,
- ability of thermal compensation in cavity,
- small misalignment sensitivity of the cavity,
- large mode diameters in the gain disk medium approximately equal to the pump spot in the disk gain medium and large sizes over the cavity reduce nonlinear effects in air (especially critical for long cavities) and avoid damage of optics,
- a certain (settable) beam size is provided in the Kerr medium, wherein this beam size can be varied to influence the focusing strength according to the approximation formula f=w2/(4n2I0L) (w is the beam waist, n2 is the nonlinear index, I0 is the peak intensity and L is the length of the Kerr medium),
- beam size variation further allows to provide certain amount of nonlinearity in the Kerr medium to achieve stable mode locking,
- cavity is most sensitive to Kerr effect near the stability edge. Typically KLM laser is operated near the one of the stability edges. Compromise between such operating point and reliable performance has been found with the invention.
Patent Information
US patent (US9318867) granted in April 2016.
EP patent (EP2764589) granted in August 2014, validated in DE, GB, FR, CH.
Literature
High-power Kerr-lens mode-locked Yb:YAG thin-disk oscillator in the positive dispersion regime
O. Pronin, J. Brons, C. Grasse, V. Pervak, G. Boehm, M. Amann, A. Apolonskiy, V. Kalashnikov, F. Krausz
Optics Letters 37, 3543 (2012)
PDF Download
- Ref.-Nr.: 1202-4422-WT (152.5 KiB)
Contact person

Senior Patent- & License Manager
PD Dr. Wolfgang Tröger
Physicist
Phone: +49 89 / 29 09 19-27
Email:
troeger@max-planck-innovation.de